

| Brand | Honda |
|---|---|
| Manufacturer Part Number | 14540-5LA-A01 |
| SKU | 14540-5LA-A01 |
| Product | Genuine Honda Guide B, Cam Chain 14540-5LA-A01 |
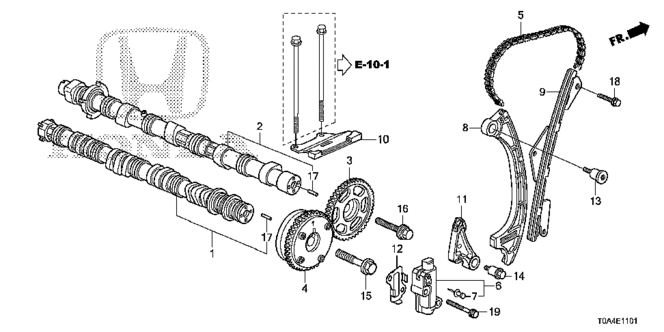
ONLY PART REFERENCE #10 ON THE DIAGRAM IS INCLUDED
Thank you for shopping with us. Please find our policies below.
If you have any other questions, please don't hesitate to contact us.
