



Product Details:
This is an automatic portable line boring and welding machine that has been specially designed for on-site construction. line boring is a powerful portable machine with boring hole from 40 mm to 300mm and features a number of unique features such as Quick-Reply in various lengths and passages, compact drive design that offers amazing setting versatility, variable feed speed, reversible feed direction and a new drive.
Hot Tags: portable line boring & bore welding machine ,220v/380v ,40~300mm, China, suppliers, manufacturers, factory, customized, wholesale, buy, price, cheap, for sale, made in China, Portable Boring Machine, Portable Line Boring Equipment, Boring And Welding Machine, line boring welding, Portable Line Boring Welding Machine, Portable Line Boring Machine
Portable line boring and welding machine is an on-site portable machining/welding machine , repair bores which have been worn out, oversized or irregular shaped. It combine line boring and welding two function into one machine .Against modular design, welding bar allow directly install on the line boring machine frame. Make it immediately switch and start welding work after hole boring ,save much time and better efficiency. our line boring machine exported to India ,Malaysia ,Vietnam ,Indonesia ,Phillipine ,Thailand ,Russia etc
Line Boring and Welding Diameter is 40mm~300mm ; Modular design, it can be easy assembled and disassembled on site ,minimum effect by the site location and space. Maximum piece weigh 27KG ,it can be operated by one person. Boring and welding two function combine into one machine, client can easy handle and switch boring and welding mode in one machine. Protection system, install intelligent power supply technology, when the voltage fluctuates, control box can make the output stabilized. And If there is over voltage/current/overload, protection will be activated to switch off machine. Remote control, it can operate by remote control operation.
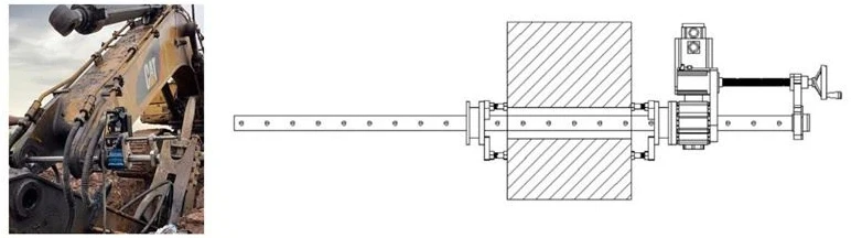
Applications
Boring and welding diameter is 40mm~300mm ; Combine line boring and welding into one machine , against lightweight ,smaller size ,strong power supply, make all repair process very easy to installation and operation




Line Boring
Specifications
1)Power supply system(servo motor 3kw)

2)Control system(Auto control box and remote )

The line boring bar feed approaching have manual gear box control feed and automatic feed by motor speed regulation.
The bar rotary speed is 50-300/rpm, which can be switch in positive and negative rotary direction, and remote control.
Automatic inner hole repair welding system, can be remote control welding gun feed approaching position, set hole machine diameter. Adjust welding gun head to control fan-sector welding area.
Automatic inner hole repair welding can set skip welding, fan-sector welding, full circle welding, slot welding, etc.


Packge list:


NOTE:
Import duties and taxes are NOT included in the item price or shipping cost, buyer is responsible for it.
If due to the reason including “refuse to sign for the package” or “refuse to pay the tax” or “buyer country post reason” , buyer have to undertake all the lose.
If you have questions about payment methods, please contact us by email .
Usually we have 3 days to process after you placed an order and we received your payment, and send ship the goods within 3 days, if you don’t get the tracking number after 3 days,
please contact us by email.
We only accept address in English. Please ensure your order Address and Post code are correct . We will sent out as per your address .
Usually we will ship out by Expedited Shipping including DHL,TNT, UPS, FEDEX, or EMS. Delivery is any day from 5-7 business days (Monday through Friday, excluding
weekends and holidays)
We understand that you sometimes need to return or exchange goods. If the product you received is not the one you needed, pleas contact us directly and send us a right photo ;
Logistics claims receipt of the product must be submitted within 30 days . If it is more than 30 days, we will no longer provide return service.
As an international supplier of automatic transmission parts, YG-club Group insists on using original parts to ensure original quality and reduce maintenance costs
Create higher value for customers. The current TRANSPEED product categories include: retrofit kits, filters, clutch assemblies, clutch bushings, T.C oil seals, rubber rings, shafts,
Bushings, electromagnets, valve bodies, pumps, etc. The TRANSPEED brand has established a good business reputation and has been recognized and favored by the industry. Its products have always been hot
Sold to China and all over the world.
We will arrange your order ASAP once your order confirmed .If you are satisfied with our products and services, we sincerely hope that you can leave us a positive comment or 5 stars.
Any problems, we will solve it for you soon, PLEASE DO NOT leave us negative feedback before that, Thanks for your cooperation.
| Country of Origin | China |
|---|---|
| Brand | Unbranded |
| Model Year | 2023 |
| Model | LYL-55527 |
| MPN | Does not apply |
