1 pieces Z8001AB1
CENTRAL PROCESSING UNIT SEGCPU Z8000 IC 6MHz
VCC 5V (4,75-5,25V) and max. 7V in DIP48 package
- Manufacturer: STMicroelectronics
- Package: DIP48
- Product Family: PROCESSING UNIT SEGCPU Z8000 IC
- all compatible with the Z-BUS
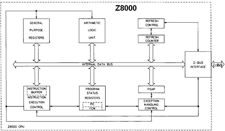
The Z8000 microprocessor has been designed to accommodate a wide range of applications, from the relatively simple to the large and complex. The Z8000 CPU is offered in two versions : the Z8001 and Z8002. Each CPU comes with an entire family of support components : a memory management unit, a DMA controller, serial and parallel l/O controllers and extended processing units - all compatible with the Z-BUS. Together with other Z8000 Family components, the advanced CPU architecture provides in an LSI microprocessor design the flexibility and sophisticated features usually associated with mini- or mainframe computers.
-
Regular, easy-to-use architecture.
-
Instruction set more powerlul than many minicomputers.
-
Directly addresses BM bytes.
-
Eight user-selectable addressing modes.
-
Seven data types that range from bits to 32-bit long words and word strings.
-
System and Normal operating modes.
-
Separate code, data and stack spaces.
-
Sophisticated interrupt structure.
-
Resource-sharing capabilities for multiprocessing systems.
-
Multi-programming support.
• Strong compiler support.
-
Memory management and protection provided by Z8010 Memory Management Unit.
-
32-bit operations, including signed multiply and divide.
-
Z-BUS compatible.
-
4,6 and 10MHz clock rate.
NEW OLD STOCK (NOS)
NOT PULLED - NOT USED - NOT REFURBISHED - NOT SOLDERED
- NOT RE-MARKED - NOT FAKED EXCLUSIVELY
The devices are from old stock (OEM industrial , mainly
from Germany), but they are NEW and UNUSED (NOS devices)
Taken out from
the original packaging ( see photo).
What you see on the photo, is what
you get .
If you need a higher quantity, please ask
for a special offer or give us for the higher quantity your best offer.