




Dual Full-Duplex UART
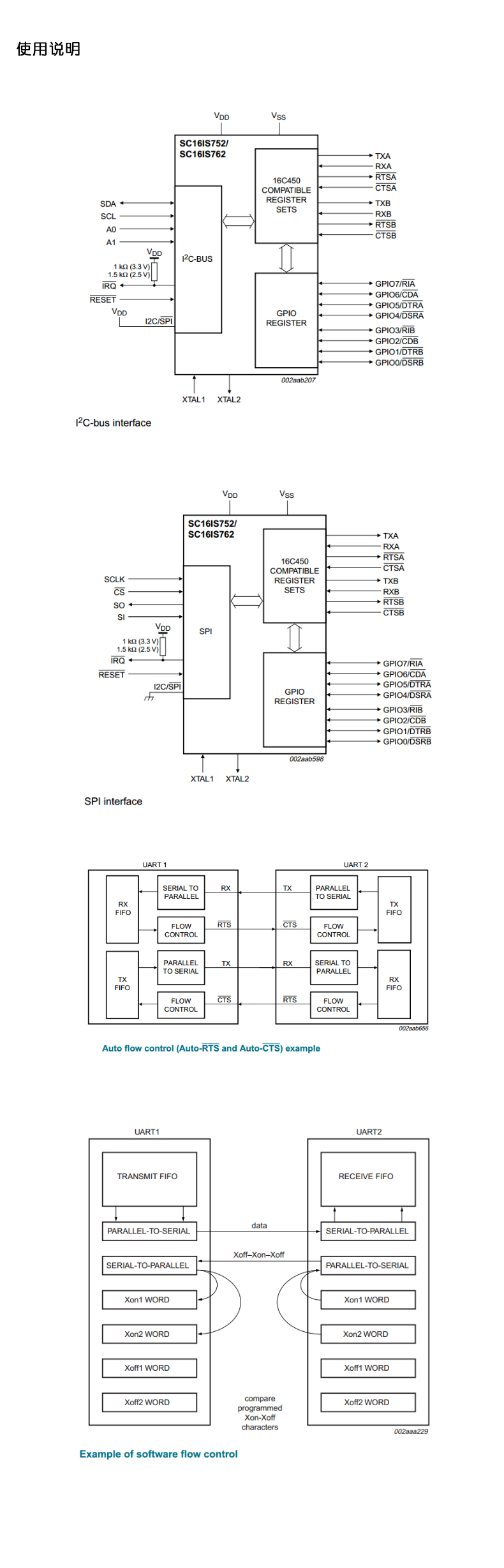
Optional I2C bus or SPI interface
3.3 V or 2.5 V operation
Industrial temperature range: -40 °C to +95 °C
Fully compatible with industry standard 16C450 and equivalent
Baud rate up to 5 Mbit/s in 16× clock mode
Automatic hardware flow control using RTS/CTS
Automatic RS-485 support (automatic slave address detection)
Up to eight programmable I/O pins
RS-485 driver direction control via RTS signal
RS-485 driver direction control reversal
SC16IS762 supports IrDA SIR up to 1.152 kbit/s
Software reset
Enable/disable transmitters and receivers independently of each other
Programmable special character detection, fully programmable character format
5-bit, 6-bit, 7-bit or 8-bit characters, even, odd or no parity, 1, 11⁄2 or 2 stop bits
Line stop generation and detection
Internal loopback mode
Sleep current below 3.3 μ at 3.3 V
5 V tolerance input
Built-in IrDA encoder and decoder support IrDA SIR up to 115.2 kbit/s
Automatic software flow control with programmable Xon/Xoff characters, single or two Xon/Xoff characters
64-byte FIFO (transmitter and receiver), receive and transmit FIFO levels
SC16IS752 supports SPI clock speeds of up to 4 Mbit/s
Slave mode only
SPI mode 0
Small board size: 27.2mm*26.4mm*15.5mm
Noise filter on SCL/SDA input
400 kbit/s (fastest)
Compatible with I2C bus fast mode
Only slave mode

We only accept payment through Paypal.
Items will go to post within 1-2 business days after payment confirmed.
If you can't receive the product within 2 months (60 days), please contact with us,we promise to payback 100% of your money.
We ensure our products work normally before post.If the products is broken before arrival to you,all you should do is taking a photo to show us our broken product.We promise to payback 100% of your money.
1. We ship to Worldwide.
2. We only ship to confirmed PAYPAL address; your PAYPAL address must match your Shipping address.
3. Any non-received items caused by invalid address registered on PayPal are not in our full refund or replacement policy. Shipping fee has including the local handing and packaging fee.
4. All the items will be shipping within 1-2 working days after receiving the payment, except some holidays.
5. We will not be responsible for any custom delay or tax, because transit time is highly depended and provided by postal Service.
6. If you have any problem, please contact us via message, we will reply message within 1-2 working days, please wait for patient.