SurveyingSuppliesLLC
Our eBay Store
About Us
Contact Us
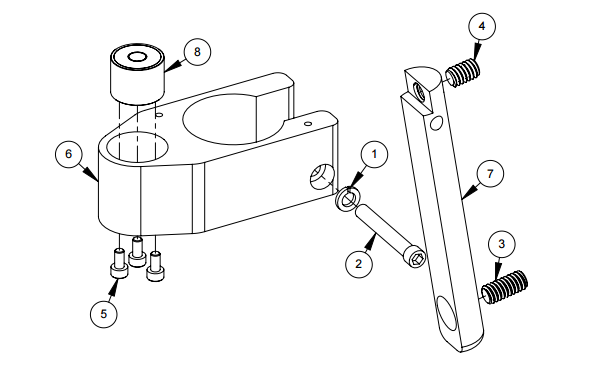
Seco Quick Release Aseembly with Vial